Produk
Injap Pulangan Batang Panjang
  • Injap Pulangan Batang PanjangInjap Pulangan Batang Panjang

Injap Pulangan Batang Panjang

GenTant ialah pengeluar dan pembekal terkemuka Long Shank Return Valves di China, dengan tumpuan khusus pada pembangunan teknologi produk termaju. Kilang kami mempunyai keupayaan dalaman yang komprehensif untuk kedua-dua reka bentuk produk dan ujian yang ketat. Kepakaran bersepadu ini membolehkan kami bukan sahaja mengeluarkan injap standard tetapi juga memenuhi sepenuhnya keperluan pelanggan yang disesuaikan. Daripada konsep awal dan reka bentuk kejuruteraan menggunakan perisian CAD kepada pengesahan prestasi melalui ujian hidraulik dan ketahanan, kami boleh menyesuaikan spesifikasi—seperti saiz, penilaian tekanan atau jenis sambungan—dengan keperluan projek anda yang tepat, memastikan penyelesaian yang tepat dan boleh dipercayai untuk aplikasi khusus.

Long Shank Return Valve ialah varian injap sehala khusus yang direka untuk menghalang aliran balik bendalir dalam litar pemanasan atau penyejukan hidronik, seperti sistem pemanasan bawah lantai atau gelung radiator. Fungsi utamanya adalah untuk memastikan aliran satu arah, membenarkan air yang dipanaskan atau disejukkan beredar ke arah yang dimaksudkan sambil menutup secara automatik untuk menyekat sebarang aliran terbalik yang boleh mengganggu keseimbangan dan kecekapan sistem. Reka bentuk "batang panjang" yang menentukan mempunyai badan injap yang dilanjutkan, membolehkan pemasangan terus ke dalam port manifold atau titik sambungan set dalam. Ini memberikan kesesuaian yang selamat, bersepadu dan memudahkan akses yang lebih mudah untuk penyelenggaraan, menjadikannya penting untuk mengekalkan pengasingan hidraulik dan prestasi terma yang konsisten dalam sistem HVAC moden.


Ciri dan Aplikasi Produk

Long Shank Return Injap mempunyai badan memanjang yang direka untuk memudahkan aliran balik cecair dalam sistem ceruk atau terlindung. Ciri utama mereka ialah jangkauan lanjutan, yang membolehkan pemasangan selamat melalui partition tebal sambil memastikan port pelarasan boleh diakses. Ia digunakan secara meluas dalam manifold pemanasan bawah lantai dan litar terma suria, di mana ia mengawal selia pemulangan air ke sumber haba, memastikan tekanan seimbang dan kecekapan terma optimum merentas keseluruhan gelung.


Parameter Produk

Spesifikasi Teknikal

Tekanan Nominal: 1.6 MPa

Medium Kerja: Air

Suhu Operasi: -10°C ≤ T ≤ 100°C

Benang mematuhi piawaian ISO 228


Benang Perempuan-Perempuan

 Long Shank Return Valve

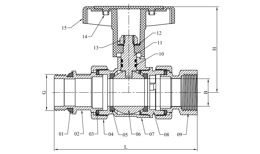
Tidak.

Nama Komponen

Kuantiti

bahan

01

Ketua PPR

2

PP-R

02

Tudung Oktagonal

2

HPb59-1

03

Gasket

2

VMQ

04

Tempat duduk injap

2

PTFE

05

Badan Injap

1

HPb59-1

06

Injap Bola

1

S.S201

07

Penutup Injap

1

HPb59-1

08

O-cincin

2

EPDM

09

Batang Injap

1

HPb59-1

10

Pencuci Rata

1

S235

11

kacang

1

S235

12

Penutup Pemegang

1

ABS

13

pegang

1

ABS


Benang Lelaki-Perempuan

Long Shank Return Valve

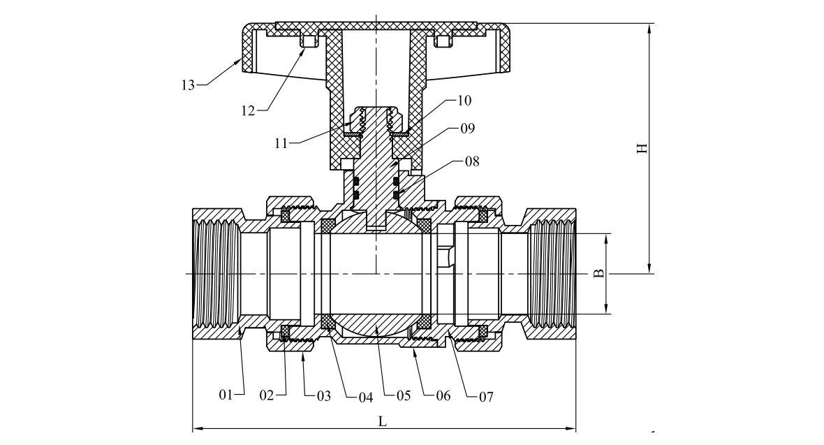
Tidak.

Nama Komponen

Kuantiti

bahan

01

Gasket

2

EPDM

02

Penyambung

1

HPb59-1

03

Pencuci Rata

2

EPDM

04

Tudung Oktagonal

2

HPb59-1

05

Tempat duduk injap

2

PTFE

06

Injap Bola

1

S.S201

07

Badan Injap

1

HPb59-1

08

Penutup Injap

1

HPb59-1

09

sendi

1

HPb59-1

10

O-cincin

2

EPDM

11

Batang Injap

1

HPb59-1

12

Pencuci Rata

1

S235

13

kacang

1

S235

14

Penutup Pemegang

1

ABS

15

pegang

1

ABS


Garis Panduan Pemasangan

1. Bersihkan dan sediakan sistem paip dengan teliti sebelum memasang injap.

2. Sebelum pemasangan, tanggalkan sebarang penutup hujung pelindung dan periksa port injap dan permukaan tempat duduk untuk memastikan ia bersih.

3. Sediakan sokongan yang mencukupi untuk injap untuk mengelakkan tekanan daripada menyambung paip.

4. Sahkan bahawa penilaian tekanan dan suhu injap sesuai untuk keadaan perkhidmatan yang dimaksudkan.

5.Sebelum meletakkan injap ke dalam perkhidmatan, kitarnya sepenuhnya dari terbuka kepada tertutup untuk mengesahkan kelancaran operasi.

6. Selepas pemasangan, pastikan nat pembungkusan diketatkan dengan betul.


Arahan Operasi

Injap Pulangan Long Shank dikendalikan secara manual. Pusingkan pemegang mengikut arah lawan jam untuk membuka dan mengikut arah jam untuk menutup.


Pemeriksaan dan Penyelenggaraan

1. Pemeriksaan rutin dan penyelenggaraan pencegahan secara amnya tidak diperlukan, selain daripada pelarasan sekali-sekala pembungkusan batang dan kitaran berkala injap daripada terbuka kepada tertutup.

2. Jika berlaku kebocoran pembungkusan, ketatkan nat pembungkusan mengikut arah jam kira-kira seperempat pusingan—atau sehingga kebocoran berhenti—untuk meningkatkan tekanan pengedap pada pembungkusan batang. Jangan sekali-kali mengemas semula injap semasa ia berada di bawah tekanan sistem.

3. Apabila menggantikan batang injap, juga menggantikan bahan pembungkusan.



Teg Panas: China Long Shank Return Valve Pengilang, Pembekal
Hantar Pertanyaan
Maklumat Hubungan
Jika anda mempunyai sebarang pertanyaan tentang petikan atau kerjasama, sila e-mel kepada kami di zchen@gentantvalves.com atau gunakan borang pertanyaan berikut. Wakil jualan kami akan menghubungi anda dalam masa 24 jam. Terima kasih kerana berminat dengan produk kami.
X
Kami menggunakan kuki untuk menawarkan anda pengalaman menyemak imbas yang lebih baik, menganalisis trafik tapak dan memperibadikan kandungan. Dengan menggunakan tapak ini, anda bersetuju dengan penggunaan kuki kami. Dasar Privasi
Tolak Terima