Produk
Injap Pintu Boleh Dikunci Tugas Sederhana
  • Injap Pintu Boleh Dikunci Tugas SederhanaInjap Pintu Boleh Dikunci Tugas Sederhana

Injap Pintu Boleh Dikunci Tugas Sederhana

Beli Injap Pintu Berkunci Tugas Sederhana yang disesuaikan daripada GenTant, pengilang dan pembekal profesional yang berpangkalan di China. Injap kami direka khusus dan digunakan secara meluas merentasi pelbagai sistem penting. Ia biasanya dipasang dalam sistem HVAC (Pemanasan, Pengudaraan, dan Penyaman Udara) untuk kawalan zon dan pengasingan penyelenggaraan, serta dalam sistem bekalan air, paip dan perlindungan kebakaran. Aplikasi ini adalah asas dalam kedua-dua kompleks kediaman dan bangunan komersial, di mana penutupan dan keselamatan yang boleh dipercayai adalah penting untuk keselamatan operasi dan pengurusan kemudahan yang cekap. Kami menyediakan penyelesaian yang disesuaikan untuk memenuhi keperluan khusus persekitaran yang pelbagai ini.

Injap Pintu Boleh Dikunci Tugas Sederhana ialah peranti kawalan aliran teguh yang direka bentuk untuk perkhidmatan hidup/mati yang boleh dipercayai dalam sistem paip bertekanan. Fungsi utamanya adalah untuk menyediakan pengasingan lengkap aliran bendalir—sama ada air, minyak atau gas—dengan menaikkan atau menurunkan pintu pepejal merentasi laluan aliran. Ciri penentu ialah mekanisme penguncian bersepadu, selalunya peruntukan gembok atau perumah pemegang boleh dikunci, yang melindungi injap sama ada dalam kedudukan terbuka atau tertutup. Ini menghalang operasi yang tidak dibenarkan atau tidak sengaja, memastikan integriti sistem, keselamatan dan pengurusan aliran yang tepat. Ia adalah komponen penting untuk penyelenggaraan, protokol keselamatan, dan akses terkawal dalam pelbagai pemasangan.


Ciri dan Aplikasi Produk

Injap pintu berkunci tugas sederhana direka untuk kawalan hidup/mati yang boleh dipercayai dalam sistem air dan bendalir am. Ia mempunyai badan yang teguh, operasi pagar yang lancar, dan roda tangan boleh dikunci yang menghalang operasi tanpa kebenaran dan memastikan keselamatan. Dengan prestasi pengedap yang baik dan rintangan aliran rendah apabila dibuka sepenuhnya, ia digunakan secara meluas dalam rangkaian bekalan air, sistem HVAC, saluran paip industri dan perkhidmatan bangunan di mana akses terkawal dan pengasingan yang boleh dipercayai diperlukan.


Parameter Produk

Spesifikasi Teknikal

Tekanan Nominal: 1.6 MPa

Media Kerja: Air, Minyak, Gas Tidak menghakis dan Tidak mudah terbakar

Suhu Operasi: -10°C ≤ T ≤ 120°C

Benang mematuhi piawaian ISO 228


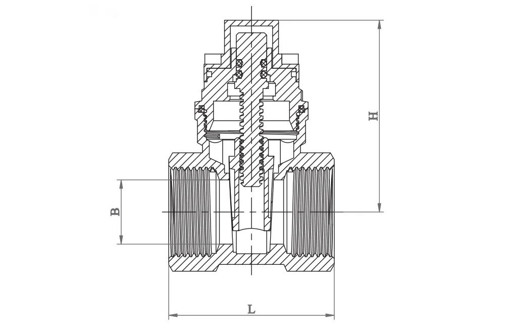
Dimensi Produk

Medium-Duty Lockable Gate Valve

DN

L (mm)

B (mm)

H (mm)

WT (g)

1/2"

45

15

52

227.6

3/4"

49

19

57

287.6

1"

53

24

63

373.6

1/1/4"

57

29

79

639.6

1/1/2"

62

36

91

852.7

2"

69

45

107

1198.3


Garis Panduan Pemasangan

1. Bersihkan dan sediakan sistem paip dengan teliti sebelum memasang injap.

2. Sebelum pemasangan, tanggalkan sebarang penutup hujung pelindung dan periksa port injap dan permukaan tempat duduk untuk memastikan ia bersih.

3. Sediakan sokongan yang mencukupi untuk injap untuk mengelakkan tekanan daripada menyambung paip.

4. Sahkan bahawa penilaian tekanan dan suhu injap sesuai untuk keadaan perkhidmatan yang dimaksudkan.

5.Sebelum meletakkan injap ke dalam perkhidmatan, kitarnya sepenuhnya dari terbuka kepada tertutup untuk mengesahkan kelancaran operasi.

6. Selepas pemasangan, pastikan nat pembungkusan diketatkan dengan betul.

7. Untuk Injap Pintu Berkunci Bertugas Sederhana, adalah disyorkan untuk memasang dengan batang menegak dan pemegang operasi di atas.


Arahan Operasi

Injap pintu dikendalikan secara manual. Pusingkan pemegang mengikut arah lawan jam untuk membuka dan mengikut arah jam untuk menutup.


Pemeriksaan dan Penyelenggaraan

1. Pemeriksaan rutin dan penyelenggaraan pencegahan secara amnya tidak diperlukan, selain daripada pelarasan sekali-sekala pembungkusan batang dan kitaran berkala injap daripada terbuka kepada tertutup.

2. Jika berlaku kebocoran pembungkusan, ketatkan nat pembungkusan mengikut arah jam kira-kira seperempat pusingan—atau sehingga kebocoran berhenti—untuk meningkatkan tekanan pengedap pada pembungkusan batang. Jangan sekali-kali mengemas semula injap semasa ia berada di bawah tekanan sistem.

3. Apabila menggantikan batang injap, juga menggantikan bahan pembungkusan.


Alat Ganti

Di bawah keadaan operasi biasa, alat ganti jarang diperlukan. Alat ganti yang disyorkan untuk setiap jenis injap termasuk: Pemegang, nat pemegang, pembungkusan, kelenjar, nat pembungkusan.

Apabila memesan alat ganti, sila berikan nombor angka injap, saiz, bahagian yang diperlukan dan anggaran umur.



Teg Panas: Pembekal Injap Pintu Berkunci Tugas Sederhana China, Kilang
Hantar Pertanyaan
Maklumat Hubungan
Jika anda mempunyai sebarang pertanyaan tentang petikan atau kerjasama, sila e-mel kepada kami di zchen@gentantvalves.com atau gunakan borang pertanyaan berikut. Wakil jualan kami akan menghubungi anda dalam masa 24 jam. Terima kasih kerana berminat dengan produk kami.
X
Kami menggunakan kuki untuk menawarkan anda pengalaman menyemak imbas yang lebih baik, menganalisis trafik tapak dan memperibadikan kandungan. Dengan menggunakan tapak ini, anda bersetuju dengan penggunaan kuki kami. Dasar Privasi
Tolak Terima